好久没有介绍过新项目的制作了,之前做的一直都是Fisco Bcos的项目,没有介绍过Hyperledger Fabric的项目,这次来给大家分享下。
系统概述
不动产登记与交易平台是一个基于Hyperledger Fabric的综合性管理系统,旨在实现不动产登记、交易流程的数字化、透明化和高效化。该平台为用户提供不动产证书管理、交易申请、税务处理等一站式服务,实现了不动产从登记到交易的全流程管理。

系统架构
后端架构
- 编程语言:Go (Golang)
- Web 框架:Gin
- 数据库:MySQL
- 区块链:Hyperledger Fabric
- API 风格:RESTful API
前端架构
- 框架:Vue.js
- UI 组件库:Ant Design Vue
- 状态管理:Vuex
- 路由管理:Vue Router
- HTTP 客户端:Axios
核心数据模型
链上数据模型
不动产证书 (EstateBook)
- 证书编号、所有者、房屋地址、面积、交易ID等信息
- 存储在区块链上,确保证书信息的不可篡改性
网签合同 (Netcon)
- 合同编号、买方、卖方、关联证书编号、交易金额等信息
- 记录不动产交易信息,通过区块链保证交易透明
税务记录 (EstateTax)
- 税务编号、证书编号、纳税人、纳税金额等信息
- 确保税务数据的完整性和可追溯性
数据库模型
用户表 (users)
- 用户基本信息、认证信息和角色权限
不动产申请表 (estate_applications)
- 不动产登记申请的全生命周期管理
- 包含申请状态、税务信息等
交易申请表 (transaction_applications)
- 不动产交易申请的全过程记录
- 跟踪从申请到完成的每个环节
系统角色与权限
1. 系统管理员 (admin)
- 系统配置和用户管理
- 监控系统运行状态
2. 不动产登记中心 (register_center)
- 审核不动产登记申请
- 颁发不动产证书
3. 房产管理部门 (property_mgmt)
- 管理房产交易流程
- 审核和处理产权转移申请
4. 税务部门 (tax_bureau)
- 计算和管理不动产相关税费
- 处理税务登记和缴纳
5. 普通用户 (user)
- 申请不动产登记
- 发起和参与不动产交易
- 查询个人不动产和交易记录
核心业务流程
不动产登记流程
申请提交:
- 用户填写不动产信息并提交登记申请
- 系统生成唯一的证书编号
税务处理:
- 税务部门审核申请并设定税费
- 申请状态更改为"待缴税"
- 用户完成税费缴纳后状态更新为"已缴税"
申请审批:
- 不动产登记中心审核申请材料
- 批准申请后,系统在区块链上创建不动产证书
- 生成税务记录,完成登记流程
不动产交易流程
交易申请:
- 卖方提交不动产交易申请
- 提供买方信息、交易金额等数据
合同创建:
- 房产管理部门审核交易申请
- 批准后在区块链上创建网签合同
- 申请状态更新为"已创建合同"
税务处理:
- 税务部门设定交易税费
- 缴纳税费后状态更新为"已缴税"
交易完成:
- 管理部门确认交易条件已满足
- 调用区块链智能合约完成交易
- 更新不动产证书所有权信息
- 完成交易,产权转移
项目展示
不动产登记流程展示
普通用户
注册功能
用户可以在平台注册一个角色,该角色为普通角色,其他角色需由管理员注册。

申请不动产登记
不动产登记申请功能允许用户提交房产信息(包括证书编号、所有者信息、房屋地址和面积),系统将申请记录保存到数据库并进入审核流程,随后由不动产登记中心审核、税务部门核定税费、用户缴纳税费,最终在区块链上创建不可篡改的不动产权证书,实现了从申请提交到证书发放的全流程电子化管理,确保房产登记的公开透明和数据安全。


税务部门
税务部门审核不动产登记申请
税务部门审核申请并设定税费功能允许具有税务部门权限的管理员查看待核税的不动产登记申请或房产交易申请,核查申请信息后设置税务编号和应缴税额,将申请状态更新为"tax_pending"(待缴税)。用户缴纳税费后,税务管理员可以标记税费为已缴纳状态,系统会在区块链上创建对应的税务记录,并将申请状态更新为"tax_paid"(已缴税),为下一步的不动产登记或交易完成做准备


设置税费

如果申请人缴纳税费后,确认收款。

现有状态变更为已缴税

不动产登记中心
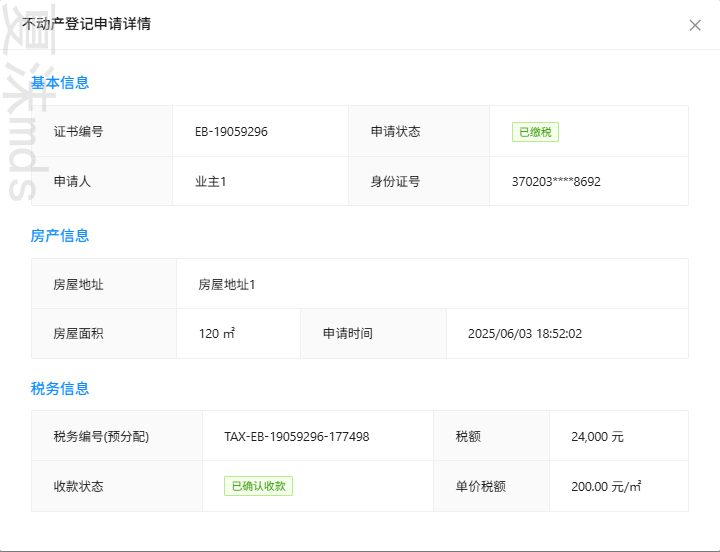
批准申请并创建不动产证书
不动产登记中心批准申请并创建不动产证书功能允许具有登记中心权限的管理员审核已完成税费缴纳(状态为"tax_paid")的不动产登记申请,确认无误后,系统会调用区块链智能合约在Hyperledger Fabric上创建不可篡改的不动产权证书记录,包含证书编号、所有者信息、房屋地址、面积等关键信息,同时将申请状态更新为"approved"(已批准)并记录批准人信息和交易ID。如果申请包含税务信息,系统还会同步创建对应的税务记录,确保产权信息的真实性、合法性和安全性。



不动产交易流程展示
普通用户
发起交易
普通用户发起交易功能允许房产所有者作为卖方提交房产交易申请,用户需填写网签合同编号、关联的不动产证书编号、买卖双方信息、房屋地址、面积和交易金额等信息。提交后,申请状态为"pending"(待审核),随后由房产管理部门审核并创建区块链上的网签合同,税务部门核定交易税费,买方缴纳税费后,房产管理部门可完成交易,系统会在区块链上更新不动产所有权从卖方转移到买方。

发起交易

另外一种可以填写完整的表单来提交交易申请

查看卖方的交易申请


查看买方的交易申请


房产管理部门
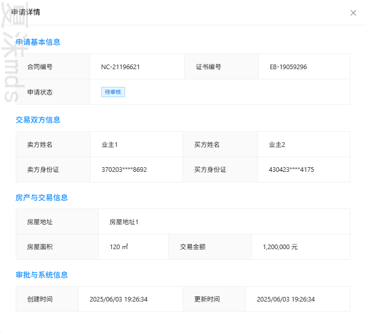
审核交易
房产管理部门批准交易功能允许具有房产管理权限的管理员审核待处理的房产交易申请,确认买卖双方信息、房产信息和交易金额无误后,系统会调用区块链智能合约在Hyperledger Fabric上创建网签合同记录,包含合同编号、买卖双方、房产信息和交易金额等关键信息,并将申请状态从"pending"(待审核)更新为"contract_created"(合同已创建)。

批准申请


查看网签合同详情


税务部门
设置税费
税务部门的不动产交易设置税费功能允许具有税务部门权限的管理员审核已创建网签合同的交易申请,管理员会检查交易相关信息后,为交易分配唯一的税务编号并根据房产面积、交易金额等计算应缴税额,然后将申请状态从"contract_created"(合同已创建)更新为"tax_pending"(待缴税)。买方缴纳税费后,税务管理员可标记税费已缴纳状态,系统会在区块链上创建对应的税务记录,并将申请状态更新为"tax_paid"(已缴税),为最终的房产所有权转移做好准备。

交易申请详情

设置交易税费

确认收款

查看这时候的交易详情

房产管理部门确认完成交易
房产管理部门确认完成交易功能允许具有房产管理权限的管理员审核已完成税费缴纳(状态为"tax_paid")的房产交易申请,确认买卖双方信息、税费缴纳状态和交易合同无误后,系统会调用区块链智能合约更新Hyperledger Fabric上的不动产权证书记录,将房产所有权从卖方转移到买方,同时将交易申请状态更新为"approved"(已批准)并记录批准人信息和交易ID。这一功能完成了房产交易的最终环节。


现在查看不动产证书可以看到所有者转为业主2

总结
不动产登记管理系统是一个基于区块链技术的综合性房产管理平台,实现了不动产登记和交易的全流程电子化管理。
该系统主要包含三类用户角色:普通用户可以提交不动产登记申请、发起房产交易、查询个人房产信息和缴纳相关税费;不动产登记中心管理员负责审核登记申请并在区块链上创建不可篡改的不动产权证书;税务部门管理员负责核定税费并监督缴纳情况;房产管理部门管理员负责审核交易申请、创建网签合同和确认完成交易。
系统的核心业务流程分为两大部分:不动产登记流程包括用户提交申请、税务部门设定税费、用户缴纳税费、登记中心批准并创建区块链证书;房产交易流程包括用户发起交易申请、房产管理部门创建网签合同、税务部门设定交易税费、买方缴纳税费、房产管理部门确认完成交易并在区块链上转移所有权。
通过Hyperledger Fabric区块链技术,系统确保了不动产权证书、网签合同和税务记录的不可篡改性和可追溯性,为房产管理提供了透明、安全、高效的数字化解决方案,有效防范了房产交易中的欺诈风险,提升了政务服务的便民快捷。
想要定制项目或咨询可以查看简介或者私聊我