奖助学金评审系统的设计与实现
摘 要
科技进步的飞速发展引起人们日常生活的巨大变化,电子信息技术的飞速发展使得电子信息技术的各个领域的应用水平得到普及和应用。信息时代的到来已成为不可阻挡的时尚潮流,人类发展的历史正进入一个新时代。在现实运用中,应用软件的工作规则和开发步骤,采用Java技术建设奖助学金评审系统。
本设计主要实现集人性化、高效率、便捷等优点于一身的奖助学金评审系统,完成用户管理、成绩管理、奖学金复审、奖学金名单、分类信息、助学金申请、助学金名单公告通知等功能模块。系统通过浏览器与服务器进行通信,实现数据的交互与变更。本系统通过科学的管理方式、便捷的服务提高了工作效率,减少了数据存储上的错误和遗漏。奖助学金评审系统使用Java语言,采用基于 MVC模式的springboot技术进行开发,使用 Eclipse 2017 CI 10 编译器编写,数据方面主要采用的是微软的MySQL关系型数据库来作为数据存储媒介,配合前台HTML+CSS 技术完成系统的开发。
关键词:奖助学金评审系统;Java语言;关系型数据库;数据存储
Design and implementation of scholarship evaluation system
Abstract
The rapid development of scientific and technological progress has caused great changes in people's daily life. The rapid development of electronic information technology has popularized and applied the application level of electronic information technology in various fields. The advent of the information age has become an irresistible fashion trend, and the history of human development is entering a new era. In practical application, the working rules and development steps of the application software adopt Java technology to build the scholarship evaluation system.
This design mainly realizes the scholarship evaluation system with the advantages of humanization, high efficiency and convenience, and completes the functional modules such as user management, performance management, scholarship review, scholarship list, classification information, scholarship application, announcement of scholarship list and so on. The system communicates with the server through the browser to realize the interaction and change of data. Through scientific management and convenient service, the system improves work efficiency and reduces errors and omissions in data storage. The scholarship evaluation system uses Java language, adopts springboot technology based on MVC mode for development, and is written with eclipse 2017 CI 10 compiler. In terms of data, it mainly uses Microsoft's MySQL relational database as the data storage medium, and completes the development of the system with the foreground HTML + CSS technology.
Key words:Scholarship evaluation system; Java language; Relational database; data storage
目 录
一个功能齐全、简单易用的学生奖功学金管理系统不但能有效地减轻学校教学管理者的工作负担,同时也使学生信息的处理方便快捷,所以学生奖助学金管理系统应该能够为用户提供公平的奖助学金综合评定手段。一直以来人们使用传统的方式管理文件档案、统计和查询数据,这种管理方式存在着许多缺点,如:效率低、人工的大量浪费、综合评定不全面。随着科学技术的不断提高,计算机科学日渐成熟,其强大的功能已为人们深刻认识,它已进入人类社会的各个领域并发挥着来越重要的作用。作为计算机应用的一部分, 使用计算机对学校的奖助学金进行管理,具有手工管理所无法比拟的优点。如果本文所研究的高校奖学金系统开发成功,并经测试后能顺利投入使用,对高校的学生管理部门来讲将会大大减少工作人员的工作量,提高工作效率,减少了人力、物力和财力,这些都是开发和使用本系统将带来的间接收益,同时也将促进学校信息化的进程,提高学院的管理效率。
本人在校期间学习了Java 语言、数据库设计、Java Web开发等知识,借这次毕业设计的契机,运用所学知识开发学生信息管理系统,希望通过这次实践提升自身对软件工程、数据库、程序设计等理论的认识,积累系统开发的经验。
-
- 开发现状
而随着我国科学技术的发展,我国的高校教学已经进入了现代化、信息化的时代。因此,高校的奖助学金评审系统也应该到了更新换代的时段,实现奖助学金评审系统的现代化十分有必要性。加上springboot技术的飞速发展,在奖助学金评审系统中运用此技术,能大大提升系统的功能和方便性。springboot技术是由美国sun公司推出的,它具备了结构简化、可移植性强、重用性好、可伸缩性好、平台无关性、面向对象、分布式处理能力强和安全等优点,而且在Web应用程序的开发上已经形成了标准的体系结构,十分适合用于Web应用的开发。由此可知,在springboot技术的基础上,对奖助学金评审系统进行开发是十分明智而且贴合现在校方对奖学金评定的必要性。
高校引入基于springboot技术的奖助学金评审系统,是非常具有意义的一个项目,引入springboot技术的奖助学金评审系统,不仅学生在获得奖学金中带来便捷,还能带来其他的好处。首先,能提高高校管理人员的工作效率,节省时间,使高校的教育工作更具有针对性、和实效性。其次,方便数据、文件的保存和查找。让学生无需在其他不必要的地方浪费时间,也让教师们节省更多的时间和繁琐的步骤。
第一章是绪论,本文章的开头部分,对本题目的研究背景和研究意义等一些做文字性的描述。
第二章研究了奖助学金评审系统的所采用的开发技术和开发工具。
第三章是系统分析部分,包括系统总体需求描述、功能性角度分析系统需求、非功能性等各个方面分析系统是否可以实现。
第四章是系统设计部分,本文章的重要部分,提供了系统架构的详细设计和一些主要功能模块的设计说明。
第五章是系统的具体实现,介绍系统的各个模块的具体实现。
第六章在前几章的基础上对系统进行测试和运行。
最后对系统进行了认真的总结,以此对未来有一个新的展望。
Vue (读音 /vjuː/,类似于 view) 是一套用于构建用户界面的渐进式JavaScript框架。与其它大型框架不同的是,Vue被设计为可以自底向上逐层应用。Vue 的核心库只关注视图层,不仅易于上手,还便于与第三方库或既有项目整合。另一方面,当与现代化的工具链以及各种支持类库结合使用时,Vue 也完全能够为复杂的单页应用(SPA)提供驱动。
-
- Vue.js 主要功能
Vue.js是一套构建用户界面的渐进式框架。与其他重量级框架不同的是,Vue采用自底向上增量开发的设计。Vue 的核心库只关注视图层,并且非常容易学习,非常容易与其它库或已有项目整合。另一方面,Vue 完全有能力驱动采用单文件组件和Vue生态系统支持的库开发的复杂单页应用。
Vue.js 的目标是通过尽可能简单的 API 实现响应的数据绑定和组合的视图组件。
Vue.js 自身不是一个全能框架——它只聚焦于视图层。因此它非常容易学习,非常容易与其它库或已有项目整合。另一方面,在与相关工具和支持库一起使用时,Vue.js 也能驱动复杂的单页应用。
-
- MySQL数据库
科技的进步,给日常带来许多便利:教室的投影器用到了虚拟成像技术,数码相机用到了光电检测技术,比如超市货物进出库的记录需要一个信息仓库。这个信息仓库就是数据库,而这次的奖助学金评审系统也需要这项技术的支持[7]。
用MySQL这个软件,是因为它能接受多个使用者访问,而且里面存在Archive等。它会先把数据进行分类,然后分别保存在表里,这样的特别操作就会提高数据管理系统自身的速度,让数据库能被灵活运用。MySQL的代码是公开的,而且允许别人二次编译升级。这个特点能够降低使用者的成本,再搭配合适的软件后形成一个良好的网站系统。虽然它有缺点,但是综合各方面来说,它是使用者的主流运用的对象[8]。
B/S(Browser/Server)比前身架构更为省事的架构。它借助Web server完成数据的传递交流。只需要下载浏览器作为客户端,那么工作就达到“瘦身”效果, 不需要考虑不停装软件的问题[9]。
Spring框架是Java平台上的一种开源应用框架,提供具有控制反转特性的容器。尽管Spring框架自身对编程模型没有限制,但其在Java应用中的频繁使用让它备受青睐,以至于后来让它作为EJB(EnterpriseJavaBeans)模型的补充,甚至是替补。Spring框架为开发提供了一系列的解决方案,比如利用控制反转的核心特性,并通过依赖注入实现控制反转来实现管理对象生命周期容器化,利用面向切面编程进行声明式的事务管理,整合多种持久化技术管理数据访问,提供大量优秀的Web框架方便开发等等。Spring框架具有控制反转(IOC)特性,IOC旨在方便项目维护和测试,它提供了一种通过Java的反射机制对Java对象进行统一的配置和管理的方法。Spring框架利用容器管理对象的生命周期,容器可以通过扫描XML文件或类上特定Java注解来配置对象,开发者可以通过依赖查找或依赖注入来获得对象。Spring框架具有面向切面编程(AOP)框架,SpringAOP框架基于代理模式,同时运行时可配置;AOP框架主要针对模块之间的交叉关注点进行模块化。Spring框架的AOP框架仅提供基本的AOP特性,虽无法与AspectJ框架相比,但通过与AspectJ的集成,也可以满足基本需求。Spring框架下的事务管理、远程访问等功能均可以通过使用SpringAOP技术实现。Spring的事务管理框架为Java平台带来了一种抽象机制,使本地和全局事务以及嵌套事务能够与保存点一起工作,并且几乎可以在Java平台的任何环境中工作。
易用:在有HTML,CSS,JavaScript的基础上,快速上手;Vue.js 的 API 是参考了AngularJS、KnockoutJS、Ractive.js、Rivets.js;Vue.js 的 API 的对于其他框架的参考不仅是参考,其中也包含了许多 Vue.js 的独特功能。
灵活:简单小巧的核心,渐进式技术栈,足以应付任何规模的应用。
性能:20kb min+gzip 运行大小、超快虚拟 DOM 、最省心的优化。
- 系统分析
本次设计基于B/S 模式下,运用Java技术采用的是MySQL数据库和Eclipse实现,总体的可行性共分为以下三个方面。
所谓的技术可行性就是在限定时间,前期拟定的功能能否被满足。在开发设计上是否会遇上解决不了的问题。做完的项目能否被很好地应用,如果存在缺点在后期的维护上是否存在很大的难度。在对这个系统评估后,认定已存在的技术能达成目标。用Java技术来实现动态的页面,嵌入低依赖性的设计模式,灵活的数据库,配合稳定的服务器,整个系统的运行效率大大提升。由此可见,在技术层面达成目标不是非非之想。
在项目上使用的工具大部分都是是当下流行开源免费的,所以在开发前期,开发时用于项目的经费将会大大降低,不会让开发该软件在项目启动期受到经费的影响,所以经济上还是可行的。尽量用最少的花费去满足用户的需求。省下经费用于人工费,以及设备费用。将在无纸化,高效率的道路上越走越远。
本系统实现功能的操作很简单,普通电脑的常见配置就可以运行本软件,并且只要粗通电脑使用的基本常识就可以流畅的使用本软件。电脑具备连接互联网的能力,并且可以正常访问系统,并不需要操作者有什么高超的能力,只需了解业务流程,并且按照专业知识进行正确操作即可,所以奖助学金评审系统具备操作可行性。
在系统开发设计前,应该对功能做初步设想,清楚这个管理系统有什么板块,每个板块有什么功能,整体的设计是否满足使用者的需求,接着对所开发的系统功能进行的详细分析总结,从而设计出完整的系统并将其实现。用户和开发人员的交流分析,使其达到最佳理解程度,使系统功能达到最佳。
学生用例图如下所示。

图3-1 学生用例图
管理员用例图如下所示。

图3-2 管理员用例图
教师用例图如下所示。

图3-3 教师用例图
奖助学金评审系统在对需求做解析后,整个系统主要分为三个部分:管理员、教师和学生,每个模块下的分支功能不一样。对功能做出如下说明:
学生模块:
账号登录认证。
管理个人资料信息,修改可修改的信息项。
提交助学金申请,同时查看历史已提交的助学金申请记录。
学生成绩查询,同时查看历史已有成绩的记录。
奖学金名单查询,同时查看历史已有奖学金名单的记录。
教师模块:
账号登录认证。
管理个人资料信息,修改可修改的信息项。
成绩查询,同时查看历史已有成绩的记录。
助学金申请,同时查看历史已有助学金申请的记录。
助学金名单录入,教师给相应的学生助学金名单。
管理员模块:
对学生留下的公告数据进行维护,删除违规公告,可对其回复想要的公告。
维护教师,审核教师的账号,可以冻结教师的登录权限,或者删除教师账号。
发布学生奖学金申请,并可以销毁某个学生奖学金申请,更新学生奖学金申请数据,模糊搜索学生奖学金申请数据等。
发布学生,并可以销毁某个学生,更新学生数据,模糊搜索学生数据等。
管理学生成绩数据。
维护助学金复审数据。
查看学生提交的助学金申请数据,管理员有权利维护它。
系统非功能需求有非常多,比如性能需求、可承载最大用户数、稳定性、易用性需求等。本系统分析时考虑到易用性需求,因为系统是给人使用的,所以必须充分从用户的角度出发,考虑用户体验,使系统易理解易上手易操作。
一层数据流程图包括了登录、用户功能和检索维护等模块,在登录模块使用到的数据存储有用户账户文档,用户功能模块需要的存储是用户各功能模块数据文档,检索维护是使用以上这些数据文档通过关键词进行检索。
系统的一层数据流图如下图所示。

图3-2系统数据流图(一层)
二层数据流程是对一层数据流层图中填写登录信息、用户功能的细化。即:填写登录信息细化为填制信息、后台审核,用户功能细化为成绩查询、奖学金申请查询、奖学金名单查询、助学金申请、奖学金复审等操作。
系统的二层数据流图如下图所示。
图3-4系统数据流图(二层)
目前B/S体系的系统主要的数据访问方式是:通过浏览器页面用户可以进入系统,系统可以自动对用户向服务器发送的请求进行处理,处理请求是在系统后台中进行的,用户在浏览器页面上进行相应操作,就能够看到服务端传递的处理结果。奖助学金评审系统主要分为视图-模型-控制三层架构设计。在视图层中,主要是操作在服务器端向客户端反馈并显示的数据,在模型层中,主要处理相关的业务逻辑、数据整合等,最后的控制层它介于视图和模型之间,主要是调整两层之间的关系,最终落实数据的传递。
系统架构图如下图所示。

图4-1系统架构图
系统设计的目的是分析系统包括的所有功能结构,为开发人员设计开发和实现系统做好准备工作。经过前期的需求调查、分析和整理之后,确定的总体需求主要包括多个模块,分别是:用户管理、成绩管理、奖学金复审、奖学金名单、分类信息、助学金申请、助学金名单、公告通知。系统整体角色分为三个部分,一是教师、二是学生、最后是管理员。权限分布也是很明显,学生是在除去浏览信息之外还具有查询和管理自己账户信息、成绩查询、成绩排名查询、奖学金查询、助学金申请、公告反馈等权限;管理员是最高权限拥有者。
系统功能结构图如下图所示。

图4-2系统功能结构图
用户管理模块
该模块是为所有用户登录设计的,如学生登录后只能进行自己的普通功能操作(如个人信息修改),管理员和超级管理员登录后有不同的权限,管理员不能超越权限。超级管理员能对整个系统的数据进行管理,主要是用户的登录权限以及用户登录后在系统里的操作权限。
成绩管理模块
学生拥有自己的学期成绩,关系为一对多,根据学生编号来将学生数据传入到成绩数据中,操作人为管理员,然后生成成绩列表,学生查看个人历史成绩列表,可以进行数据销毁。
助学金复审模块
学生的成绩可以进行排名,关系为一对多,根据学生编号来将学生数据传入到成绩排名数据中,操作人为管理员,然后生成成绩排名列表,学生查看个人历史成绩排名列表,可以进行数据销毁。
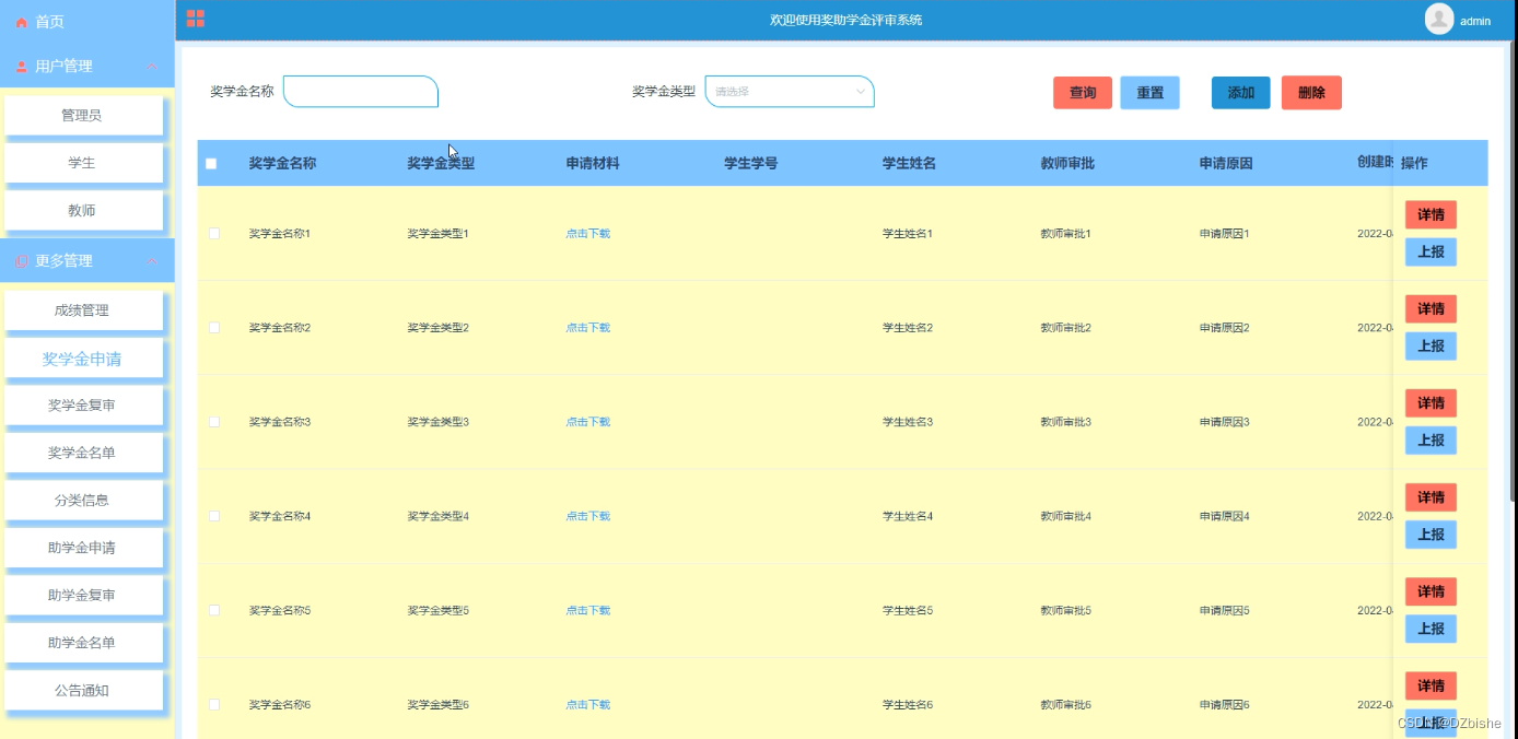
学生奖学金申请模块
操作人来录入学生奖学金申请数据,点击奖学金录入按钮,依次填写要录入的奖学金数据,点击提交按钮,将数据提交至数据库,然后刷新奖学金数据页面,每条数据右边有删除和编辑按钮,来完成相应的删除和更新功能。
公告维护模块
管理员点击公告管理菜单,点击公告添加子菜单,添加公告数据,填写标题、内容、类别、图片,提交成功后,公告数据页面刷新,新数据成功载入页面。
助学金申请维护模块
根据助学金申请维护的流程,学生提交助学金申请数据,在个人后台便可以查看到历史提交的助学金申请数据,管理员来维护助学金申请数据,审批确认已存在的助学金申请数据。
对于一个要开发的系统来说,E-R图可以让别人能更快更轻松的了解此系统的事务及它们之间的关系。根据系统分析阶段所得出的结论确定了在奖助学金评审系统中存在着多个实体分别是用学生、管理员、教师、成绩、奖学金申请、奖学金复审、助学金申请、公告通知、奖学金复审、奖学金名单。
系统总体ER图如下图所示。

图4-4系统总体ER图
管理员(管理员id、用户名、密码、权限)
学生(学生id、学生学号、学生姓名、性别、年龄、审核状态、用户id)
教师(教师id、教师工号、教师姓名、性别、年龄、审核状态、用户id)
奖学金复审(奖学金复审id、奖学金名称、奖学金类型、申请材料、学生学号、学生姓名、教师审批、复审状态、申请原因)
奖学金名单(奖学金名单id、奖学金名称、奖学金类型、奖学金等级、学生学号、学生姓名)
奖学金申请(奖学金申请id、奖学金名称、奖学金类型、申请材料、学生学号、学生姓名、教师审批、申请原因)
助学金复审(助学金复审id、助学金名称、助学金类型、申请材料、学生学号、申请材料、教师审批、复审状态、申请原因)
助学金申请(助学金申请id、助学金名称、助学金类型、申请材料、学生学号、学生姓名、教师审批、申请原因)
成绩管理(成绩管理id、科目名称、科目排名、科目成绩、学生学号、学生姓名)
数据库逻辑结构就是将E-R图在数据库中用具体的字段进行描述。用字段和数据类型描述来使对象特征实体化,最后形成具有一定逻辑关系的数据库表结构。奖助学金评审系统所需要的部分数据结构表如下表所示。
teacher表:
类型 |
长度 |
不是null |
主键 |
注释 |
|
teacher_id |
int |
11 |
是 |
是 |
教师ID |
teacher_job_number |
varchar |
64 |
否 |
否 |
教师工号 |
teacher_name |
varchar |
64 |
否 |
否 |
教师姓名 |
gender |
varchar |
64 |
否 |
否 |
性别 |
age |
varchar |
64 |
否 |
否 |
年龄 |
examine_state |
varchar |
16 |
是 |
否 |
审核状态 |
recommend |
int |
11 |
是 |
否 |
智能推荐 |
user_id |
int |
11 |
是 |
否 |
用户ID |
create_time |
datetime |
0 |
是 |
否 |
创建时间 |
update_time |
timestamp |
0 |
是 |
否 |
更新时间 |
student表: |
|||||
名称 |
类型 |
长度 |
不是null |
主键 |
注释 |
student_id |
int |
11 |
是 |
是 |
学生ID |
student_number |
varchar |
64 |
否 |
否 |
学生学号 |
student_name |
varchar |
64 |
否 |
否 |
学生姓名 |
gender |
varchar |
64 |
否 |
否 |
性别 |
age |
varchar |
64 |
否 |
否 |
年龄 |
examine_state |
varchar |
16 |
是 |
否 |
审核状态 |
recommend |
int |
11 |
是 |
否 |
智能推荐 |
user_id |
int |
11 |
是 |
否 |
用户ID |
create_time |
datetime |
0 |
是 |
否 |
创建时间 |
update_time |
timestamp |
0 |
是 |
否 |
更新时间 |
scholarship_review表: |
|||||
名称 |
类型 |
长度 |
不是null |
主键 |
注释 |
scholarship_review_id |
int |
11 |
是 |
是 |
奖学金复审ID |
name_of_scholarship |
varchar |
64 |
否 |
否 |
奖学金名称 |
scholarship_type |
varchar |
64 |
否 |
否 |
奖学金类型 |
application_materials |
varchar |
255 |
否 |
否 |
申请材料 |
student_number |
int |
11 |
否 |
否 |
学生学号 |
student_name |
varchar |
64 |
否 |
否 |
学生姓名 |
teacher_approval |
varchar |
64 |
否 |
否 |
教师审批 |
review_status |
varchar |
64 |
否 |
否 |
复审状态 |
reason_for_application |
text |
0 |
否 |
否 |
申请原因 |
recommend |
int |
11 |
是 |
否 |
智能推荐 |
create_time |
datetime |
0 |
是 |
否 |
创建时间 |
update_time |
timestamp |
0 |
是 |
否 |
更新时间 |
scholarship_list表: |
|||||
名称 |
类型 |
长度 |
不是null |
主键 |
注释 |
scholarship_list_id |
int |
11 |
是 |
是 |
奖学金名单ID |
name_of_scholarship |
varchar |
64 |
否 |
否 |
奖学金名称 |
scholarship_type |
varchar |
64 |
否 |
否 |
奖学金类型 |
scholarship_grade |
varchar |
64 |
否 |
否 |
奖学金等级 |
student_number |
int |
11 |
否 |
否 |
学生学号 |
student_name |
varchar |
64 |
否 |
否 |
学生姓名 |
recommend |
int |
11 |
是 |
否 |
智能推荐 |
create_time |
datetime |
0 |
是 |
否 |
创建时间 |
update_time |
timestamp |
0 |
是 |
否 |
更新时间 |
scholarship_application表: |
|||||
名称 |
类型 |
长度 |
不是null |
主键 |
注释 |
scholarship_application_id |
int |
11 |
是 |
是 |
奖学金申请ID |
name_of_scholarship |
varchar |
64 |
否 |
否 |
奖学金名称 |
scholarship_type |
varchar |
64 |
否 |
否 |
奖学金类型 |
application_materials |
varchar |
255 |
否 |
否 |
申请材料 |
student_number |
int |
11 |
否 |
否 |
学生学号 |
student_name |
varchar |
64 |
否 |
否 |
学生姓名 |
teacher_approval |
varchar |
64 |
否 |
否 |
教师审批 |
reason_for_application |
text |
0 |
否 |
否 |
申请原因 |
recommend |
int |
11 |
是 |
否 |
智能推荐 |
create_time |
datetime |
0 |
是 |
否 |
创建时间 |
update_time |
timestamp |
0 |
是 |
否 |
更新时间 |
financial_aid_review表: |
|||||
名称 |
类型 |
长度 |
不是null |
主键 |
注释 |
financial_aid_review_id |
int |
11 |
是 |
是 |
助学金复审ID |
name_of_financial_aid |
varchar |
64 |
否 |
否 |
助学金名称 |
types_of_grants |
varchar |
64 |
否 |
否 |
助学金类型 |
application_materials |
varchar |
255 |
否 |
否 |
申请材料 |
student_number |
int |
11 |
否 |
否 |
学生学号 |
student_name |
varchar |
64 |
否 |
否 |
学生姓名 |
teacher_approval |
varchar |
64 |
否 |
否 |
教师审批 |
review_status |
varchar |
64 |
否 |
否 |
复审状态 |
reason_for_application |
text |
0 |
否 |
否 |
申请原因 |
recommend |
int |
11 |
是 |
否 |
智能推荐 |
create_time |
datetime |
0 |
是 |
否 |
创建时间 |
update_time |
timestamp |
0 |
是 |
否 |
更新时间 |
financial_aid_application表 |
|||||
名称 |
类型 |
长度 |
不是null |
主键 |
注释 |
financial_aid_application_id |
int |
11 |
是 |
是 |
助学金申请ID |
name_of_financial_aid |
varchar |
64 |
否 |
否 |
助学金名称 |
types_of_grants |
varchar |
64 |
否 |
否 |
助学金类型 |
application_materials |
varchar |
255 |
否 |
否 |
申请材料 |
student_number |
int |
11 |
否 |
否 |
学生学号 |
student_name |
varchar |
64 |
否 |
否 |
学生姓名 |
teacher_approval |
varchar |
64 |
否 |
否 |
教师审批 |
reason_for_application |
text |
0 |
否 |
否 |
申请原因 |
recommend |
int |
11 |
是 |
否 |
智能推荐 |
create_time |
datetime |
0 |
是 |
否 |
创建时间 |
update_time |
timestamp |
0 |
是 |
否 |
更新时间 |
announcement_notice表: |
|||||
名称 |
类型 |
长度 |
不是null |
主键 |
注释 |
announcement_notice_id |
int |
11 |
是 |
是 |
公告通知ID |
announcement_title |
varchar |
64 |
否 |
否 |
公告标题 |
label |
varchar |
64 |
否 |
否 |
标签 |
publisher |
varchar |
64 |
否 |
否 |
发布人 |
release_time |
date |
0 |
否 |
否 |
发布时间 |
announcement_content |
text |
0 |
否 |
否 |
公告内容 |
recommend |
int |
11 |
是 |
否 |
智能推荐 |
create_time |
datetime |
0 |
是 |
否 |
创建时间 |
update_time |
timestamp |
0 |
是 |
否 |
更新时间 |
achievement_management表: |
|||||
名称 |
类型 |
长度 |
不是null |
主键 |
注释 |
achievement_management_id |
int |
11 |
是 |
是 |
成绩管理ID |
account_name |
varchar |
64 |
否 |
否 |
科目名称 |
subject_ranking |
int |
11 |
否 |
否 |
科目排名 |
subject_achievement |
varchar |
64 |
否 |
否 |
科目成绩 |
student_number |
int |
11 |
否 |
否 |
学生学号 |
student_name |
varchar |
64 |
否 |
否 |
学生姓名 |
recommend |
int |
11 |
是 |
否 |
智能推荐 |
create_time |
datetime |
0 |
是 |
否 |
创建时间 |
update_time |
timestamp |
0 |
是 |
否 |
更新时间 |
系统的登录窗口是用户的入口,用户只有在登录成功后才可以进入访问。通过在登录提交表单,后台处理判断是否为合法用户,进行页面跳转,进入系统中去。
登录合法性判断过程:用户输入账号和密码后,系统首先确定输入输入数据合法性,然后在login.Java页面发送登录请求,调用src下的mainctrl类的dopost方法来验证。
用户登录模块的IPO如下所示:
输入:用户名和密码。
处理:
1)检测用户输入的账号、密码是否正确及在数据库已对应存在。
2)从数据库中提取记录,并储存在本地的session中(timeout默认=30min)。
3)根据用户名,将其显示在系统首页上。
输出:是否成功的信息。
登录流程图如下所示。

图5-1登录流程图
系统登录界面如下所示。

图5-2系统登录界面
用户登录的逻辑代码如下。
* 登录
* @param data
* @param httpServletRequest
* @return
*/
@PostMapping("login")
public Map<String, Object> login(@RequestBody Map<String, String> data, HttpServletRequest httpServletRequest) {
log.info("[执行登录接口]");
String username = data.get("username");
String email = data.get("email");
String phone = data.get("phone");
String password = data.get("password");
List resultList = null;
Map<String, String> map = new HashMap<>();
if(username != null && "".equals(username) == false){
map.put("username", username);
resultList = service.select(map, new HashMap<>()).getResultList();
}
else if(email != null && "".equals(email) == false){
map.put("email", email);
resultList = service.select(map, new HashMap<>()).getResultList();
}
else if(phone != null && "".equals(phone) == false){
map.put("phone", phone);
resultList = service.select(map, new HashMap<>()).getResultList();
}else{
return error(30000, "账号或密码不能为空");
}
if (resultList == null || password == null) {
return error(30000, "账号或密码不能为空");
}
//判断是否有这个用户
if (resultList.size()<=0){
return error(30000,"用户不存在");
}
User byUsername = (User) resultList.get(0);
Map<String, String> groupMap = new HashMap<>();
groupMap.put("name",byUsername.getUserGroup());
List groupList = userGroupService.select(groupMap, new HashMap<>()).getResultList();
if (groupList.size()<1){
return error(30000,"用户组不存在");
}
UserGroup userGroup = (UserGroup) groupList.get(0);
//查询用户审核状态
if (!StringUtils.isEmpty(userGroup.getSourceTable())){
String sql = "select examine_state from "+ userGroup.getSourceTable() +" WHERE user_id = " + byUsername.getUserId();
String res = String.valueOf(service.runCountSql(sql).getSingleResult());
if (res==null){
return error(30000,"用户不存在");
}
if (!res.equals("已通过")){
return error(30000,"该用户审核未通过");
}
}
//查询用户状态
if (byUsername.getState()!=1){
return error(30000,"用户非可用状态,不能登录");
}
String md5password = service.encryption(password);
if (byUsername.getPassword().equals(md5password)) {
// 存储Token到数据库
AccessToken accessToken = new AccessToken();
accessToken.setToken(UUID.randomUUID().toString().replaceAll("-", ""));
accessToken.setUser_id(byUsername.getUserId());
tokenService.save(accessToken);
// 返回用户信息
JSONObject user = JSONObject.parseObject(JSONObject.toJSONString(byUsername));
user.put("token", accessToken.getToken());
JSONObject ret = new JSONObject();
ret.put("obj",user);
return success(ret);
} else {
return error(30000, "账号或密码不正确");
}
}
-
- 用户子系统模块的实现
- 公告管理模块
- 用户子系统模块的实现
用户在lyblist查看公告信息,先使用sql语句查询出所有公告表的数据,然后调用PageManager.getPages(url,4,sql, request ),返回一个ArrayList的对象,在for循环里,使用Java得到每个ArrayList对象的数据,然后放入页面模板中,用户点击我要公告则跳转至lyb.Java。
公告流程图如下所示。

图5-3公告流程图
公告管理界面如图所示。

图5-4公告管理界面
-
-
- 成绩管理模块
-
学生成绩录入过程中,首先使用getmap(id,"xinxi"),通过学生ID得到学生数据,将学生数据赋值给学生成绩,调用CommDAO的insert方法将成绩数据插入成绩表中,最后查看个人历史学生成绩记录,可以销毁历史成绩数据。
学生成绩录入流程图如下所示。

图5-5学生成绩录入流程图
成绩管理界面如图所示。

图5-6成绩管理界面
-
-
- 助学金复审模块
-
助学金复审过程中,首先使用getmap(id,"xinxi"),通过学生ID得到助学金复审数据,将学生数据赋值给助学金复审,调用CommDAO的insert方法将助学金复审数据插入助学金复审表中,最后查看个人历史助学金复审记录,可以销毁历史助学金复审数据。
助学金复审流程图如下所示。

图5-7助学金复审流程图
助学金复审界面如图所示。

图5-8助学金复审界面
学生提交助学金申请,可以进行新增、查看、修改以及删除等相应的助学金申请管理操作。当点击"新增助学金申请"的按钮时,在助学金申请添加界面进行详细信息的添加操作。当点击"查看助学金申请"超级链接时,会显示所选的助学金申请的信息,然后点击"返回"再返回到其主页面。
助学金申请提交界面如图所示。

图5-9助学金申请提交界面
学生在yhzhgl查看学生信息,先使用sql语句查询出所有学生表的数据,然后调用PageManager.getPages(url,4,sql, request ),返回一个ArrayList的对象,在for循环里,使用Java得到每个ArrayList对象的数据,在Java页面中解析ArrayList对象,得到其各个键值对的值。
学生管理界面如下图所示。

图5-10学生管理界面
系统学生管理关键代码如下所示。
@RequestMapping(value = {"/count_group", "/count"})
public Map<String, Object> count(HttpServletRequest request) {
Query count = service.count(service.readQuery(request), service.readConfig(request));
return success(count.getResultList());
}
-
-
- 个人资料管理模块
-
用户点击登录填写账号信息登录后,会切换内容为“某某用户欢迎您”和历史订单,并给出注销链接。当用户登录成功后会将个人信息保存在session作用域中,点击自己的用户名时,会跳转到个人详细信息页面,由后台通过Freemarker取出session作用域中的用户信息进行动态渲染,例如,邮箱、电话号码、用户名等等。同时页面上会显示修改个人信息和修改密码的按钮,这时客户可以修改自己的登录密码以保障账号的安全性,防止被人窃取账号,通过UserController.java的updatePassword()实现,同时也可以根据自己的个人信息是否变动做出相应的修改,通过updateUserInfo()实现。
密码修改流程图如下所示。

图5-11密码修改流程图
密码修改关键代码如下所示。
* 修改密码
* @param data
* @param request
* @return
*/
@PostMapping("change_password")
public Map<String, Object> change_password(@RequestBody Map<String, String> data, HttpServletRequest request){
// 根据Token获取UserId
String token = request.getHeader("x-auth-token");
Integer userId = tokenGetUserId(token);
// 根据UserId和旧密码获取用户
Map<String, String> query = new HashMap<>();
String o_password = data.get("o_password");
query.put("user_id" ,String.valueOf(userId));
query.put("password" ,service.encryption(o_password));
Query ret = service.count(query, service.readConfig(request));
List list = ret.getResultList();
Object s = list.get(0);
int count = Integer.parseInt(list.get(0).toString());
if(count > 0){
// 修改密码
Map<String,Object> form = new HashMap<>();
form.put("password",service.encryption(data.get("password")));
service.update(query,service.readConfig(request),form);
return success(1);
}
return error(10000,"密码修改失败!");
}
-
-
- 教师管理模块
-
添加教师信息时,输入必填字段后,表现层的JiaoshiController接受传过来的教师信息参数,再调用JiaoshiController类的addJiaoshi方法,经过JiaoshiService业务层到JiaoshiMapper持久层的处理,完成对整个添加教师信息的操作。addJiaoshi方法也和用户管理中的addUser方法类似,同时做添加和修改工作。
修改教师信息时,选择需要修改的教师进行修改,调用JiaoshiController控制器的editJiaoshi方法,拿到该教师原本的信息并显示到页面,管理员再对需要修改的教师信息字段进行修改,完成后调用addJiaoshi方法,调用业务层的updateByKey方法,更新数据库的教师信息表的数据。
教师管理流程图如下所示。

图5-12教师管理流程图
教师添加界面如下图所示。

图5-13教师添加界面
教师信息添加关键代码如下所示。
@Transactional
public Map<String, Object> add(HttpServletRequest request) throws IOException {
service.insert(service.readBody(request.getReader()));
return success(1);
}
@Transactional
public Map<String, Object> addMap(Map<String,Object> map){
service.insert(map);
return success(1);
}
public Map<String,Object> readBody(BufferedReader reader){
BufferedReader br = null;
StringBuilder sb = new StringBuilder("");
try{
br = reader;
String str;
while ((str = br.readLine()) != null){
sb.append(str);
}
br.close();
String json = sb.toString();
return JSONObject.parseObject(json, Map.class);
}catch (IOException e){
e.printStackTrace();
}finally{
if (null != br){
try{
br.close();
}catch (IOException e){
e.printStackTrace();
}
}
}
return null;
}
public void insert(Map<String,Object> body){
StringBuffer sql = new StringBuffer("INSERT INTO ");
sql.append("`").append(table).append("`").append(" (");
for (Map.Entry<String,Object> entry:body.entrySet()){
sql.append("`"+humpToLine(entry.getKey())+"`").append(",");
}
sql.deleteCharAt(sql.length()-1);
sql.append(") VALUES (");
for (Map.Entry<String,Object> entry:body.entrySet()){
Object value = entry.getValue();
if (value instanceof String){
sql.append("'").append(entry.getValue()).append("'").append(",");
}else {
sql.append(entry.getValue()).append(",");
}
}
sql.deleteCharAt(sql.length() - 1);
sql.append(")");
log.info("[{}] - 插入操作:{}",table,sql);
Query query = runCountSql(sql.toString());
query.executeUpdate();
}
-
-
- 奖学金申请管理模块
-
用户选择学生添加奖学金申请记录,用户在xuesheng_list查看学生,点击奖学金,跳转至jiangxuejin_add.Java,添加奖学金记录则将添加的奖学金记录数据封装在HashMap中,然后调用CommDAO的insert方法将奖学金记录内容插入奖学金申请记录表中。
奖学金申请管理流程图如下所示。

图5-14奖学金申请管理流程图
奖学金申请添加界面如下图所示。

图5-15奖学金申请添加界面
奖学金信息添加关键代码如下所示。
@Transactional
public Map<String, Object> set(HttpServletRequest request) throws IOException {
service.update(service.readQuery(request), service.readConfig(request), service.readBody(request.getReader()));
return success(1);
}
public Map<String,String> readConfig(HttpServletRequest request){
Map<String,String> map = new HashMap<>();
map.put(FindConfig.PAGE,request.getParameter(FindConfig.PAGE));
map.put(FindConfig.SIZE,request.getParameter(FindConfig.SIZE));
map.put(FindConfig.LIKE,request.getParameter(FindConfig.LIKE));
map.put(FindConfig.ORDER_BY,request.getParameter(FindConfig.ORDER_BY));
map.put(FindConfig.FIELD,request.getParameter(FindConfig.FIELD));
map.put(FindConfig.GROUP_BY,request.getParameter(FindConfig.GROUP_BY));
map.put(FindConfig.MAX_,request.getParameter(FindConfig.MAX_));
map.put(FindConfig.MIN_,request.getParameter(FindConfig.MIN_));
return map;
}
public Map<String,String> readQuery(HttpServletRequest request){
String queryString = request.getQueryString();
if (queryString != null && !"".equals(queryString)) {
String[] querys = queryString.split("&");
Map<String, String> map = new HashMap<>();
for (String query : querys) {
String[] q = query.split("=");
map.put(q[0], q[1]);
}
map.remove(FindConfig.PAGE);
map.remove(FindConfig.SIZE);
map.remove(FindConfig.LIKE);
map.remove(FindConfig.ORDER_BY);
map.remove(FindConfig.FIELD);
map.remove(FindConfig.GROUP_BY);
map.remove(FindConfig.MAX_);
map.remove(FindConfig.MIN_);
return map;
}else {
return new HashMap<>();
}
}
@Transactional
public void update(Map<String,String> query,Map<String,String> config,Map<String,Object> body){
StringBuffer sql = new StringBuffer("UPDATE ").append("`").append(table).append("`").append(" SET ");
for (Map.Entry<String,Object> entry:body.entrySet()){
Object value = entry.getValue();
if (value instanceof String){
sql.append("`"+humpToLine(entry.getKey())+"`").append("=").append("'").append(value).append("'").append(",");
}else {
sql.append("`"+humpToLine(entry.getKey())+"`").append("=").append(value).append(",");
}
}
sql.deleteCharAt(sql.length()-1);
sql.append(toWhereSql(query,"0".equals(config.get(FindConfig.LIKE))));
log.info("[{}] - 更新操作:{}",table,sql);
Query query1 = runCountSql(sql.toString());
query1.executeUpdate();
}
public String toWhereSql(Map<String,String> query, Boolean like) {
if (query.size() > 0) {
try {
StringBuilder sql = new StringBuilder(" WHERE ");
for (Map.Entry<String, String> entry : query.entrySet()) {
if (entry.getKey().contains(FindConfig.MIN_)) {
String min = humpToLine(entry.getKey()).replace("_min", "");
sql.append("`"+min+"`").append(" >= '").append(URLDecoder.decode(entry.getValue(), "UTF-8")).append("' and ");
continue;
}
if (entry.getKey().contains(FindConfig.MAX_)) {
String max = humpToLine(entry.getKey()).replace("_max", "");
sql.append("`"+max+"`").append(" <= '").append(URLDecoder.decode(entry.getValue(), "UTF-8")).append("' and ");
continue;
}
if (like == true) {
sql.append("`"+humpToLine(entry.getKey())+"`").append(" LIKE '%").append(URLDecoder.decode(entry.getValue(), "UTF-8")).append("%'").append(" and ");
} else {
sql.append("`"+humpToLine(entry.getKey())+"`").append(" = '").append(URLDecoder.decode(entry.getValue(), "UTF-8")).append("'").append(" and ");
}
}
sql.delete(sql.length() - 4, sql.length());
sql.append(" ");
return sql.toString();
} catch (UnsupportedEncodingException e) {
log.info("拼接sql 失败:{}", e.getMessage());
}
}
return "";
}
在对该系统进行完详细设计和编码之后,就要对奖助学金评审系统的程序进行测试,检测程序是否运行无误,反复进行测试和修改,使之最后成为完整的软件,满足用户的需求,实现预期的功能。
在软件的测试过程中,通常测试人员需要针对不同的功能模块设计多种测试用例。通过测试用例能够及时发现代码业务逻辑上是否与真实的业务逻辑相对应,及时发现代码上或逻辑上的缺陷,以此来来完善系统,提高软件产品的质量,使软件具有良好的用户体验。
登录测试用例表如下所示。
表6-1登录测试用例
测试性能 |
用户或操作员登录系统 |
||
用例目的 |
测试用户或操作员登录系统时功能是否正常 |
||
前提条件 |
进入用户登录页面或操作员登录页面 |
||
输入条件 |
预期输出 |
实际情况 |
|
各项信息不予填写,直接点击登陆按钮 |
不允许登录,提示填写账号相关信息 |
一致 |
|
填写错误的登录名或密码后点击登录系统 |
提示用户名或密码错误,要求重新填写进行登录 |
一致 |
|
填写与验证码信息不一致的信息 |
系统显示出提示信息,表明验证码错误,要求重新填写 |
一致 |
|
学生成绩测试用例表如下所示。
表6-2学生成绩测试用例
测试性能 |
用户进行学生成绩的操作 |
||
用例目的 |
测试用户进行学生成绩操作时,该功能是否正常 |
||
前提条件 |
用户进入学生详情页,该学生能够被成绩 |
||
输入条件 |
预期输出 |
实际情况 |
|
对着某学生点击“成绩”按钮 |
界面跳转至成绩界面 |
一致 |
|
在成绩界面,输入必填项,点击“提交”按钮 |
提示“成绩成功”,并返回上一级界面 |
一致 |
|
在成绩界面,填写成绩表单的时候未输入完整,点击“提交”按钮 |
提示“成绩失败” |
一致 |
|
学生管理测试用例表如下所示。
表6-3学生管理测试用例
测试性能 |
学生相关信息管理功能 |
||
用例目的 |
测试系统操作者对学生相关信息进行管理的功能是否正常 |
||
前提条件 |
登录系统进入相关管理页面 |
||
输入条件 |
预期输出 |
实际情况 |
|
进入学生管理界面,点击“录入”按钮,填写所有必填项,点击提交 |
提示“录入成功”,并返回查询界面 |
一致 |
|
进入学生管理界面,点击“录入”按钮,未填写一个或者多个必填项,点击提交 |
提示“录入失败”,请填写必填项 |
一致 |
|
进入学生管理界面,选择要修改的一条数据,点击该条数据后面的“修改”按钮 |
节目跳转至修改界面 |
一致 |
|
在修改界面,修改可修改项后,点击“提交”按钮 |
提示“修改成功”,并返回查询界面 |
一致 |
|
进入学生管理界面,点击某条数据后面的删除按钮 |
提示“是否要删除该数据”,如果用户点击“确定”按钮,则成功删除该条数据,并提示“删除成功”,之后返回查询界面 |
一致 |
|
经过对此系统的测试,得出该系统足以满足用户日常需求,在功能项目和操作等方面也能满足操作员对于其他用户的管理。但是,还有很多功能有待添加,这个系统仅能满足大部分的需求,还需要对此系统的功能更进一步的完善,这样使用起来才能更加的完美。
通过奖助学金评审系统的开发,本人巩固了之前学过的知识,如今将平时所学到的知识融合在设计中,在设计过程中,做了很多的准备,首先,在数据库系统的设计过程中,尤其是在数据库的工作原理、工作特点,对其深刻的讨论,与此同时,对于小型站点来说,最好服务器的选择,其次,利用所学的知识点分析所做的系统,并在此基础上设计。
目前本系统已经上线,正在试运行阶段,用户反馈良好,基本完成用户所需,试运行过程中没有出现阻断性问题,有一些不足和小问题也及时予以修正,系统上线后,为了保证数据的安全性,对系统进行了备份操作,系统备份是每两个月备份一次,数据库备份为每周备份一次,系统部署在租赁的云平台服务器中。
本次系统上线成功后,得到了用户的高度认可,但是在功能上和性能上还需做进一步的研究处理,使其有更高的性能和更好的用户体验。
系统在以后的升级过程中,需要解决一系列用户所提出的问题,例如打印过程中如何避免浏览器的兼容性问题,大量用户访问时,如何保持较高的响应速度,在系统今后的升级过程中将着重解决这些安全性问题。
参考文献
[1]王曼维,杨荻,李岩,及松洁.基于SpringBoot框架的智慧医疗问诊系统设计与实现[J].中国医学装备,2022,19(03):133-136.
[2]刘在英,杨磊. 一种基于SpringBoot框架的企业进存销系统的设计方法[P]. 山东省:CN114003204A,2022-02-01.
[3]曹明昊. 基于SpringBoot和Vue框架的邯郸市现代农业园区信息管理系统的研发[D].河北工程大学,2021.DOI:10.27104/d.cnki.ghbjy.2021.000671.
[4]陈晓华. 一种基于springboot框架校友信息管理系统[P]. 重庆市:CN113641510A,2021-11-12.
[5]史澳,张倩,马晓琴.高校奖助学金育人效果现状及影响因素调查实证分析[J].新经济,2021(08):99-102.
[6].中国水利工程协会大禹奖助学金颁发仪式在河海大学举行[J].水资源开发与管理,2021(07):86.
[7].中国水利工程协会大禹奖助学金颁发仪式在河海大学举行[J].水利建设与管理,2021,41(07):43.
[8]Fuyuan Cheng. Talent Recruitment Management System for Small and Micro Enterprises Based on Springboot Framework[J]. Advances in Educational Technology and Psychology,2021,5(2).
[9]邓佳莉. 基于LGB-LR模型的高校学生奖助学金预测方法研究[D].江西农业大学,2021.DOI:10.27177/d.cnki.gjxnu.2021.000519.
[10]刘欣,李亮亮,牛聪. 基于Vue和SpringBoot框架的流域监管平台的研究和应用[C]//.第十一届防汛抗旱信息化论坛论文集.,2021:118-122.DOI:10.26914/c.cnkihy.2021.024864.
[11], 各类奖、助学金统计表 2019年度海南大学省级及以上奖、助学金统计. 骆清铭,傅国华 主编,海南大学年鉴,海南出版社,2020,161-162,年鉴.DOI:10.39850/y.cnki.yhngh.2021.000286.
[12]危炜. 基于SpringBoot和Vue框架的刹车片工厂流程再造系统的设计与实现[D].浙江理工大学,2021.DOI:10.27786/d.cnki.gzjlg.2021.000215.
[13]王超,张琪立,田广强,李晶晶.基于Springboot框架的学校机房计费管理系统的设计与实现[J].电子技术与软件工程,2020(23):159-160.
[14]Jian Chen,Chen Jian,Pan Hailan. Design of Man Hour Management Information System on SpringBoot Framework[J]. Journal of Physics: Conference Series,2020,1646(1).
[15]田海晴. 基于SpringBoot和Vue框架的共享运营管理平台的设计与实现[D].山东大学,2020.DOI:10.27272/d.cnki.gshdu.2020.004528.
[16]邵健伟,梁忠民,王军,胡义明,李彬权.基于SpringBoot框架的中长期水文预报系统设计与开发[J].水电能源科学,2020,38(04):6-9+5.
[17]张星烁. 制度变通的博弈与风险——以J高校W班三次国家奖助学金评定为例[C]//.荆楚学术2017年第3期(总第十期).,2017:69-73.
致谢
伴随着设计的完成,大学生涯也随之即将结束。大学期间是我最珍惜的时光,大学时光中学会了很多,也成长了很多,这段时光中每一段回忆都刻在脑海中。感谢一起学习,一起成长同学们,和成长过程悉心教导的老师们,非常感激有你们的陪伴。
首先感谢我的指导老师,设计的完成离不开老师的一系列指导。在毕业设计的完成过程中,老师给出了很多中肯的建议,正是由于老师一丝不苟的工作态度,我的设计才能顺利的完成。
最后,感谢在大学生涯中每一位教导我的老师,是你们教给了我丰富的知识,更教会了我遇到问题时,如何去应对并解决。谢谢你们的帮助与支持。
免费领取本源代码,请关注点赞+私聊